Mogelijk heeft Samsung een elektronisch mondkapje in de pijplijn. Een onlangs gepubliceerde patentaanvraag van het Zuid-Koreaanse conglomeraat beschrijft een masker uitgerust met een processor, luchtfilters, sensoren, een ventilator en meer. Het filtert stofdeeltjes en ander ongewenst materiaal uit de lucht, zodat u schone lucht kunt inademen.
Samsung patent toont een elektronisch masker dat helpt de lucht die je inademt te reinigen
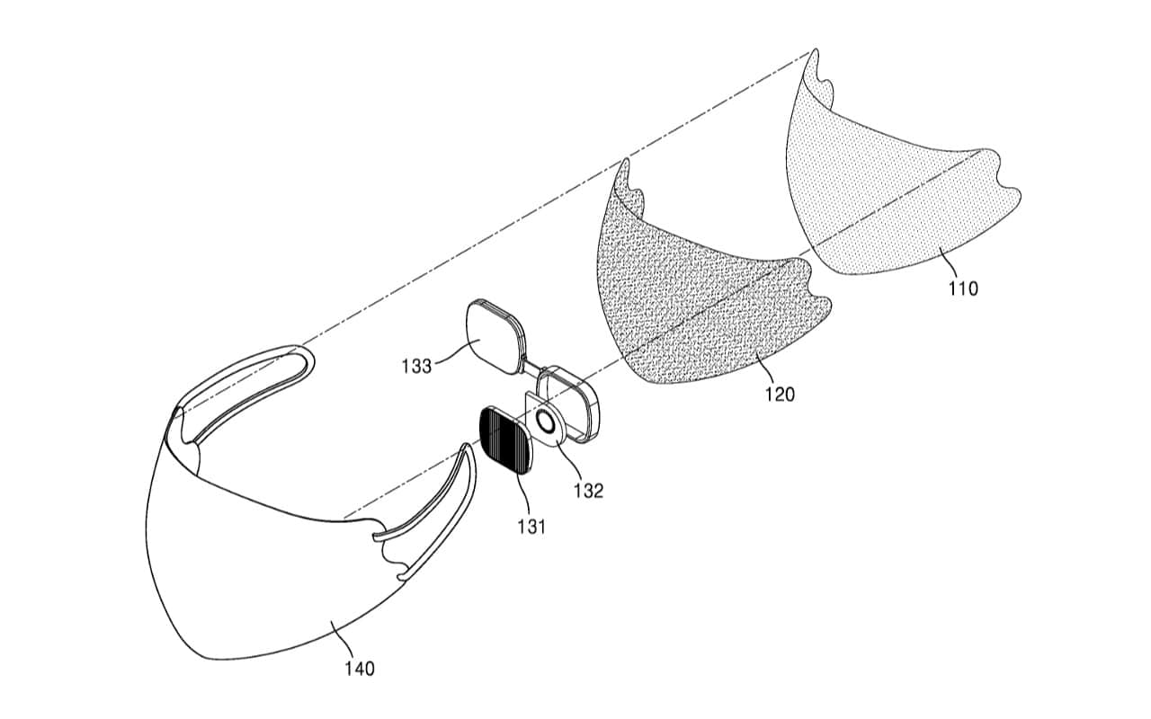
Oorspronkelijk ingediend in Korea in februari 2023, publiceerde het United States Patent and Trademark Office (USPTO) deze patentaanvraag van Samsung op 28 maart 2024. Het patent betreft een elektronisch masker en een methode om dit te controleren. Het 32 pagina's tellende officiële document dat door MSPowerUser werd opgemerkt, onthult de werkwijze en functies ervan.
Het masker ondersteunt verschillende soorten filters, zoals MA-60, MA-80 of MA-94, om de lucht die u inademt te reinigen. De filters zijn voorzien van gekleurde patronen op de randen. De kleuren variëren afhankelijk van de kwaliteit van het filter, zodat het systeem op basis van deze kleuren het type filter kan detecteren en de rest van de instellingen dienovereenkomstig kan aanpassen. Samsung heeft de filters bovendien in alle hoeken voorzien van sensoren om de vuilgraad te bepalen.
De processor gebruikt de gegevens van deze sensoren om de ventilatorsnelheid automatisch aan te passen. Als de filters vuil zijn, draait de ventilator sneller om het stof sneller te verwijderen. Als ze niet zo vuil zijn, zal het langzamer gaan om de batterij te sparen. De hele opstelling werkt samen om stof uit te filteren en schone lucht naar uw lichaam te leiden. Je kunt hem dragen als je door de stad dwaalt, op openbare plaatsen of tijdens trainingssessies.

Je kunt statistieken bekijken in een mobiele app
Het elektronische masker van Samsung wordt geleverd met een bijbehorende mobiele app die u verschillende statistieken en informatie geeft. U kunt de kwaliteit van het momenteel geïnstalleerde filter zien. batterijniveau, de snelheid van de ventilator, de duur van het gebruik van het masker, het gemiddelde aantal ademhalingen per minuut, de hoeveelheid lucht die tijdens deze periode wordt gefilterd, en meer. Mogelijk kunt u sommige instellingen ook via de app beheren.
Zoals bij alle patentaanvragen is er geen garantie dat Samsung dit product zal nastreven. Naarmate de luchtvervuiling wereldwijd toeneemt, kan er in de toekomst echter een markt voor elektronische maskers ontstaan. De Koreaanse kolos zou de sector mogelijk aan het evalueren zijn en zou de tijd kunnen nemen voordat hij een besluit neemt over de volgende stap. Zelfs als Samsung besluit een elektronisch masker te maken, kan Samsung wel of niet voor dit ontwerp kiezen.

