Microsoft heeft zich volledig ingezet voor AI, maar het bedrijf werkt verrassend genoeg aan andere soorten technologie. Volgens een nieuw rapport werkt Microsoft aan een nieuwe authenticatiemethode voor oordopjes die het inloggen op uw apparaten en services eenvoudiger zou kunnen maken.
Door de jaren heen hebben we gezien dat bedrijven verschillende methoden voor biometrische authenticatie hebben ontwikkeld. Natuurlijk zijn er vingerafdruk- en gezichtsherkenning. We hebben ook de retina-scantechnologie van Samsung gezien. We mogen de handpalmscanmethode van LG niet vergeten. Het lijkt erop dat mensen om de een of andere reden op zoek zijn naar meer manieren om je identiteit te verifiëren.
Microsoft heeft een patent aangevraagd voor oordopjesauthenticatie
Op dit moment is het niet te voorspellen of deze technologie de echte wereld zal bereiken. Microsoft heeft alleen de technologie gepatenteerd. Het stelt in feite de rechten op de technologie veilig voor het geval het deze wil nastreven. Je moet dit nieuws dus met een korreltje zout nemen.
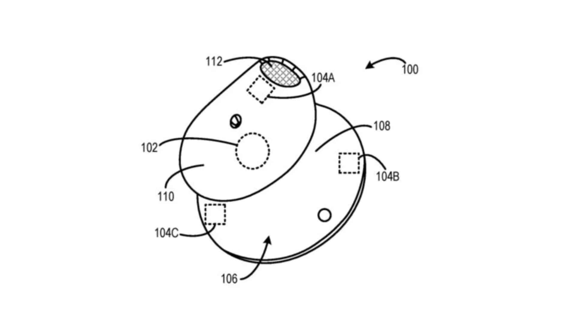
Ten eerste: hoe ga je in vredesnaam je koptelefoon gebruiken om je identiteit te verifiëren? Welnu, de oordopjes die deze technologie gebruiken, zenden een ultrasoon geluid uit dat via de binnenkant van uw oor weerkaatst. Blijkbaar is de interne structuur van iemands oor uniek voor hemzelf. De oordopjes zullen je dus ogenschijnlijk kunnen identificeren. Het luistert terug naar de echo's van het ultrasone geluid en vertelt wie je bent.
De oordopjes kunnen apparaten in de buurt pingen die authenticatie vereisen. Wanneer u dus moet inloggen bij een dienst of een apparaat, worden de oordopjes gebruikt voor authenticatie. Omdat de oordopjes kunnen zien wanneer ze in je oor zitten, kunnen ze je identiteit niet verifiëren als ze niet in je oor zitten.
Dit lijkt een nogal vreemd soort technologie, maar het is interessant. Als Microsoft het kan ontwikkelen, zal inloggen op uw apparaten veel eenvoudiger zijn. In plaats van dat u uw wachtwoord hoeft in te voeren, kunt u uzelf naadloos authenticeren.